磁翻板液位计安装时要注意哪些事项,一般安装磁翻板液位计时,需要按照使用说明书来安装,严格遵守使用手册,确保在安装磁翻板液位计时不会出现问题。
为防止运输途中磁浮子在浮筒内滑动而被撞击,液位计出厂前,用尼龙带将浮子固定在浮筒边,用户在安装前需打开下法兰,将浮子放进浮筒内(带有箭头和重端磁性一端朝上);
液位计与容器之间应装有阀门,以便清洗和检修时切断物料:
液位计筒体周围不允许有磁体靠近,禁用铁质卡箍,否则会影响液位计正常工作:
对于顶装式磁翻板液位计在安装时,液位计护导管和主体导管必须保持垂直且在同一垂直线上,浮球连杆不能弯曲,必须挺直装入;
对于304内衬PTFE防腐型磁翻板液位计,由于浮筒与法兰衔接处采用独特的密封结构,需借助专用的工具装配,为保证密封可靠性,出厂后禁止私自拆卸:

液位计安装完毕后,需用磁钢进行校正,使零位以上显示银白色;
液位计投入运行时,应先打开上引液管阀门,然后慢慢开启下引液管阀门,让液体介质平稳流入,避免液体介质带着浮子急速上升,造成翻片翻转失灵或翻乱(如遇此现象,可用磁钢进行校正)。
液位计浮筒内不应有固体杂质进入,以免对浮子造成堵塞。可根据介质情况,定期清洗浮筒,清除内部杂质。
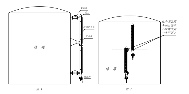
对于超长型液位计(测量范围大于4m),物流运输成本较高,一般进行分段制作液位计。
分段方法有以下两种形式,可根据客户现场设备的实际接口形式而定。图1形式是将一台液位计分成两段,安装时先组装对接好连接法兰,在进行对接操作时可适当松开显示面板,支承点的数量根据液位计的长短来定:图2形式是分成两台或若干台独立的液位计,这种形式的结构要求储罐中间的两块法兰的中心线处在同一水平面上,以实现液位显示的连续性。
以上就是磁翻板液位计在安装时需要注意的事项,如果在安装使用中出现任何问题,都可与佑富工作人员联系,以便及时解决问题。
本文地址:http://m.shyoufu.cn/hyzx/233.html
-
有智能分层视镜的资料吗
-
我司需上一批智能分层视镜,请回电/先短信通知
-
能举例说明如何校验绝对压力变送器有吗?
量程 0~1000mbar ABS 如何校验?
欢迎致电我司技术
-
SFSD20有具体尺寸吗
与SFSD23尺寸一致,只是接头不同。
-
怎么选流量计呢,需要知道哪些参数
流量计的选型,需要知道测量的介质、温度、压力以及安装方式,然后就知道使用哪种流量计比较合理了。
-
电磁流量计为什么不可以测量不导电的介质呢?
电磁流量计是根据法拉第电磁感应定律进行流量测量的流量计,通过切割磁力线来测量液体的流量的。
-
由于氧化的柴油粘污在玻璃面板上,导致无法看清液位,应该怎么办
您好!已转技术联系您。