佑富(上海)智能传感技术有限公司
技术咨询热线13817430032

静压式液位计安装条件

2018-07-03 11:05:13  

静压式液位计安装条件及安装注意事项,一般在使用静压式液位计时,首先要对现场的工况进行勘察,以便在安装时不会出现故障。

image.png

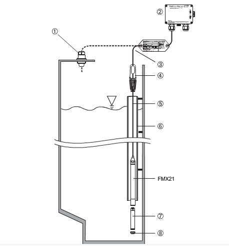
安装示意图

1延长电缆安装螺丝,可以作为“附件”订购2接线盒,可以作为“附件”订购

3延长电缆,弯曲半径>120mm(4.72in)

4悬挂固定夹,可以作为“附件”订购

5延长电缆

6FMX21的导向管

7配重件,可以作为“附件”订购

8防护帽

注意!

.电缆长度

-用户自定义电缆长度,单位:m或ft。

-通过延长电缆安装螺丝或悬挂固定夹安装自由悬挂的仪表,以及FM/CSA认证型仪表的最大电缆长度为300m(984ft)。

液位传感器的横向运动可能会导致测量误差。因此,传感器的安装位置应远离流体和扰动,或使用导向管。导向管的内径应比所选FMX21的外径至少大1mm。

a电缆必须接入干燥的室内,或合适的接线盒中。接线盒具有优良的防潮和气候防护能力,适用于户外安装。

·防护帽:仪表上的防护帽用于防止测量膜片机械损伤。在运输和安装过程中,请勿拆除仪表上的防护帽。

a电缆被截短后,必须重新安装压力补偿管上的过滤器。

■建议使用屏蔽双绞电缆。

如果在安装时有任何问题,欢迎及时与佑富工作人员取得沟通,以便于及时解决问题。

本文地址:http://m.shyoufu.cn/hyzx/175.html
  • 有智能分层视镜的资料吗
  • 我司需上一批智能分层视镜,请回电/先短信通知
  • 能举例说明如何校验绝对压力变送器有吗? 量程 0~1000mbar ABS 如何校验?

    欢迎致电我司技术

  • SFSD20有具体尺寸吗

    与SFSD23尺寸一致,只是接头不同。

  • 怎么选流量计呢,需要知道哪些参数

    流量计的选型,需要知道测量的介质、温度、压力以及安装方式,然后就知道使用哪种流量计比较合理了。

  • 电磁流量计为什么不可以测量不导电的介质呢?

    电磁流量计是根据法拉第电磁感应定律进行流量测量的流量计,通过切割磁力线来测量液体的流量的。

  • 由于氧化的柴油粘污在玻璃面板上,导致无法看清液位,应该怎么办

    您好!已转技术联系您。

姓  名:
性  别: 保密
联系方式:
电子邮箱:
标题:
填写留言:
验证码:

上一篇:静压液位计的图形使用说明
下一篇:静压式液位计安装注意事项

相关产品

UW系列阻旋料位开关
 
概述UW系列阻旋料位开关是一种用于固态物料(包括粉状、粒状、块状、胶状等)的物位控制器。其利用…...
TF音叉物位开关
 
名称:TF音叉物位开关制造商:佑富(上海)智能传感技术有限公司品牌:佑富概述TF音叉物位开关是一…...
RM系列射频导纳物位开关
 
概述RM系列射频导纳物位开关由传感探杆、电子测探单元和防护外壳组成,是根据射频导纳测量原理制造…...

相关文章

 地址:上海市嘉定区外冈高科技产业园区汇贤路758号     电话:021-59515306    传真:021-59556207   沪ICP备10201328号-4

佑富(上海)智能传感技术有限公司